In 1993/94 a system was designed and built that enables the control of a pneumatic player piano by means of a computer. The primary motivation was the ability to reproduce music composed to be performed on two synchronized player pianos.
Composers like Conlon Nancarrow and George Antheil have written such music, which had never been performed accordingly. The work was performed in a very prosperous collaboration between Jürgen Hocker, Horst Mohr and Walter Tenten.
The described system in twofold implementation had its first public performance during the “Donaueschinger Musiktage”, when in October 1994 the world premiere of Nancarrow’s “Study No. 40b for two Player Pianos” took place on two Ampico grands.
After this initial work an additional unit was built and integrated into the Ampico piano that Walter Tenten had acquired in 1995 by kind intervention of Terry Smythe.
The following description is a translated extract of an article that the fathers of the system published in the periodical bulletin of the German “Society for Self-Playing Musical Instruments” (DMM 63, p. 42–48).
Taking care of all these requirements a valve was designed around a relay which is normally used in automotive applications and which is produced by several manufacturers. Siemens offers a 12 Volt version of what they call “Schaltrelais K” with a type number V23133-A1 and a coil resistance of nominally 90 Ohms, resulting in 2 Watts driving power.
Before mounting the relays on a PCB, the contacts were removed carefully by filing them away. Then a clear varnish was applied in order to prevent corrosion to the filed surfaces.
Next a thin leather pad was glued to the outer side of the moving armature.
In order to reduce the switching noise, a thin foil of copper (not shown in the sketch) was glued to the inner side of the armature, where it made contact with the core. Other materials were tested at this point, which were much more effective in fighting the clicking noise, but only this (conducting) copper showed no sticking effects after longer periods of continuous operation.
The leather pad acts as a gasket in combination with a brass nozzle as shown in the drawing. In the deenergized state the nozzle is closed reliably. A gap of 0.7 mm proved sufficient to operate the piano pneumatics at all existing levels of vacuum.

Seven of these modified relays are mounted onto a single printed circuit board which measures 220 mm by 144,5 mm. An integrated circuit with seven darlington amplifiers permits control by TTL logic levels that are routed to the board via a header connector. The power (nom. 12 Volts) comes onto the board by means of blade terminal plugs. For an Ampico piano 14 of these boards are combined in a standard 19 inch rack, which also hosts the controller board.
The rack has an enclosure shell that is completely coated with felt on its inner walls for noise suppression.
Only 98 silicon tubes, the power connections and one or two MIDI cables enter resp. leave this box.

Here you can see the box from behind.
98 silicon tubes leave the case through a panel
with suiting holes.
On the right you see two MIDI cables; MIDI IN and
MIDI Thru.
The 12 Volts power is connected to the colored jacks.
An Ampico piano with the spoolbox in a drawer has flexible tube connections from the drawer to the stack. The elbows normally present in these tubes are substituted by plastic tees, where the electro-pneumatic controller box tubes connect.
If the piano is controlled by MIDI, the tracker bar has to be covered by a tape or the header of a note roll at tempo “0". If a note roll is reproduced, it is sufficient to keep the MIDI box deenergized. In this state all electro-pneumatic valves are closed.

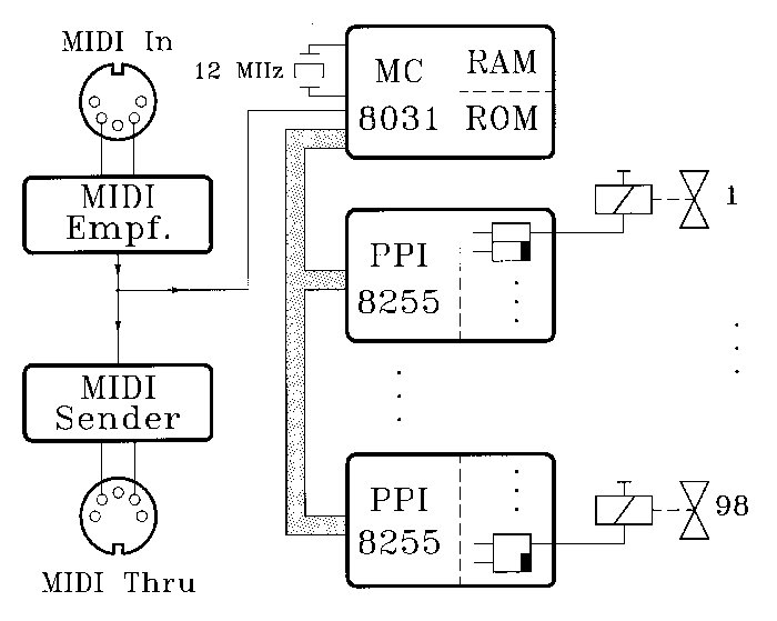
This controller is located on another printed circuit board with the same dimensions as above. The heart of this board is a standard microprocessor (micro controller) of the 8031 family. The block diagram shows the principles of operation. The micro controller receives MIDI commands over a serial line and an opt coupler. The MIDI commands are decoded and converted into commands for four peripheral port interface chips that are configured as outputs. The MIDI input to the board can be routed to additional MIDI slaves, using a MIDI Thru output.

All software is written in assembler code and consists of several simple routines. After initialization of all ports in the CPU and the peripherals all flags are reset, too. Then the values of the internal flags, which represent the desired state of the external electro-pneumatic valves, are continuously transferred to the external world. MIDI telegrams that appear on the serial line are received and decoded by means of an interrupt service routine. A timer routine prevents “blocked valves”. One minute after the reception of the last MIDI command the system performs a partial initialization, setting all flags to their inactive state.
The only MIDI commands that are interpreted are “Note On” or “Note Off” instructions that also match the selected MIDI channel. All other stuff is ignored.
The software is resident in an external PROM, but can optionally be programmed into the PROM of the 8031 in case one uses the PROM version.
Therefore a power supply of ~13.5 Volts is recommended, capable of at least 4 Amps, resulting in 30 valves that can be “On” simultaneously before the voltage drops. Even a slight drop of several Volts is not critical as long as the controller does not cease its operation. The controller has its own voltage regulator which reduces the input voltage to precise 5 Volts.
Walter Tenten
Back to e-Valve Home